Bellows type, Cryogenic Liquids print
NS_550
Economizer Regulator
“Economizer Regulator” is designed to control pressure on cryogenic liquid system.
This is used extensively in bulk storage tanks, portable liquid cylinders for LO₂, LN₂, LAr and LNG.
As bellows are used instead of diaphragm, Cv value of economizer regulator much bigger than the others.
Service characteristics
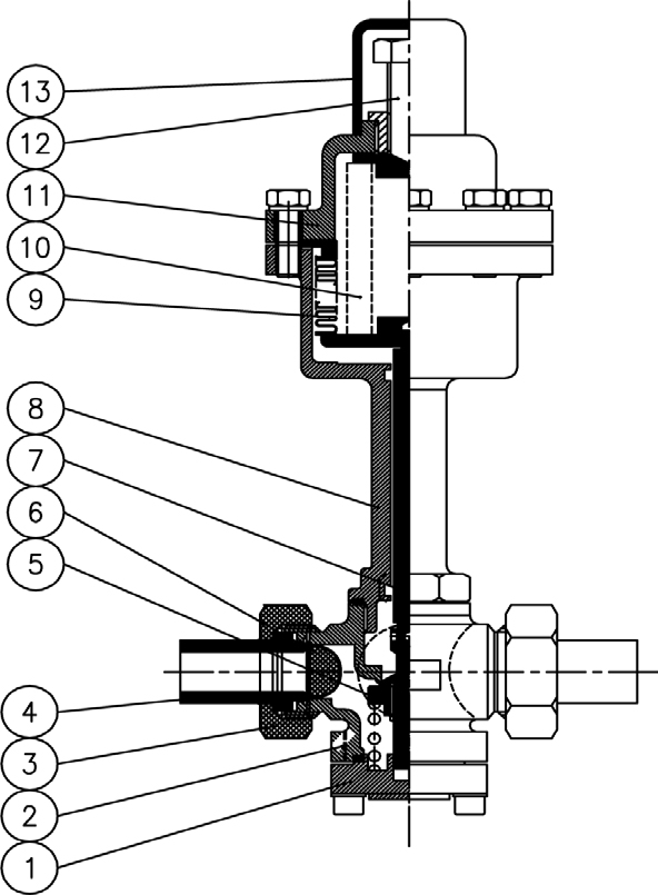
| No | Name | Material | No | Name | Material |
|---|---|---|---|---|---|
| 1 | Flange | SUS304 | 8 | Bonnet | SSC13 |
| 2 | Body | SSC13 | 9 | Bellows | SUS304 |
| 3 | Nut | C3604 | 10 | Spring | SUS304 |
| 4 | Spring | SUS304 | 11 | Act cup | AL6061 |
| 5 | Disc | SUSC3604 | 12 | Adjust bolt | SUS304 |
| 6 | Filter | SUS304 | 13 | Bolt cup | AL6061 |
| 7 | Stem | SUS304 |
NS550 Ordering information
| Model No. | SIZE | D | d | d1 | L | Wt | A | B | Cv |
|---|---|---|---|---|---|---|---|---|---|
| NS550-15 | 1/2″(15A) | 15 | 17 | 21.7 | 200 | 3.0kg | 33 | M38 | 1.3 |
| NS550-25 | 1″(25A) | 25 | 25 | 34 | 320 | 8.0kg | 41 | M48 | 3.9 |
Note: 1. Manufactured by exclusive technology.
2. Model is recommended to be upright.


