Short-stem for Cryogenic Liquid and Gas print
NS_110B
BC Cryogenic Globe Valve
Design pressure : 3.0Mpa
Design temperature : -196℃~75℃
Kind of fluid : N₂, O₂, Ar, CO₂, NG, C₂H₄
Hydrostatic test pressure : 4.5 Mpa
Pneumatic test pressure : 3.3 Mpa
“BC Cryogenic Short-stem Globe Valve” is designed to provide positive shut-off of cryogenic gas systems.
This valve is used extensively in bulk storage tanks, portable liquid cylinders and pipelines for LO₂, LN₂, LAr and LNG.”
NS110B Ordering information
Service characteristics
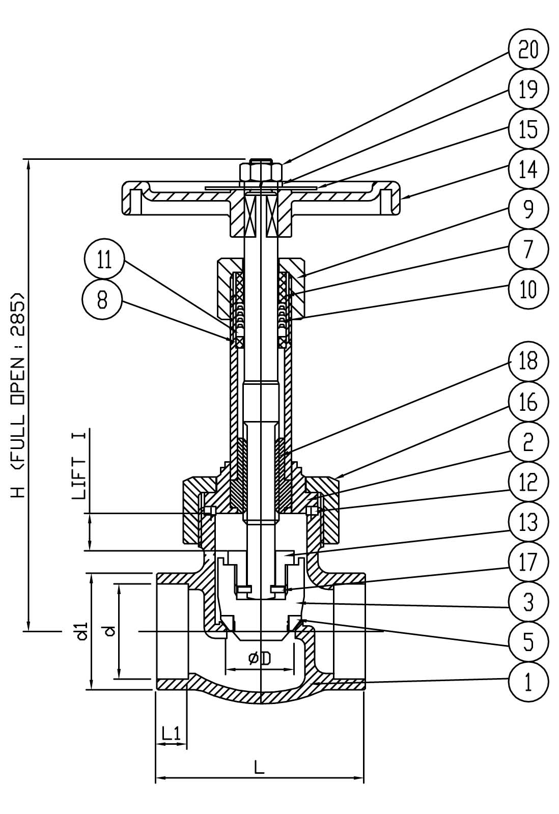
| No |
Name |
Material |
No |
Name |
Material |
| 1 |
Body |
BC 7 |
13 |
Stem Lock Nut |
C3604 |
| 2 |
Bonnet |
C3604 |
14 |
Hand Wheel |
ALDC8 |
| 3 |
Valve Disc |
C3604 |
15 |
Name Plate |
A1100P |
| 4 |
Stem |
STS 304 |
16 |
Union Nut |
C3604 |
| 5 |
Disc Seat |
PTFE |
17 |
Snap Ring |
STS 304 |
| 6 |
Extended Pipe |
STS 304 PT |
18 |
Stud Nut |
C3604 |
| 7 |
Gland Ring |
C3604 |
19 |
Seat Washer |
STS 304 |
| 8 |
Packing Ring |
STS 304 |
20 |
SSpring Washer |
STS 304 |
| 9 |
Grand Nut |
C3604 |
21 |
Spring Washer |
STS 304 |
| 10 |
Packing |
PTFE |
22 |
Hex’Bolt |
STS 304 |
| 11 |
Packing Adapter |
PTFE |
|
|
|
| 12 |
Gasket |
V#7020 |
|
|
|
NS110B Ordering information
| Model No. |
SIZE |
ØD |
d |
d1 |
L |
L1 |
I |
W |
H |
Cv |
| NS110B-10A-SW |
3/8”(10A) |
12 |
17.5 |
26 |
56 |
8 |
8 |
80 |
160 |
2.0 |
| NS110B-15A-SW |
1/2″(15A) |
15 |
21.9 |
30 |
62 |
9 |
10 |
80 |
165 |
2.9 |
| NS110B-20A-SW |
3/4″(20A) |
20 |
27.4 |
36.8 |
70 |
11 |
12 |
100 |
180 |
6.1 |
| NS110B-25A-SW |
1″(25A) |
25 |
34.2 |
44 |
76 |
12 |
13.5 |
100 |
190 |
9.3 |
| NS110B-32A-SW |
1-1/4”(32A) |
32 |
42.9 |
52 |
90 |
13 |
16 |
100 |
230 |
14.0 |
| NS110B-40A-SW |
11/2″(40A) |
40 |
48.8 |
62 |
110 |
14 |
22 |
140 |
270 |
25.0 |
| NS110B-50A-SW |
2″(50A) |
50 |
61.0 |
74 |
130 |
15 |
25 |
140 |
290 |
38.0 |