Lift Type for Cryogenic Liquid and Gas print
NS_200S
SS Cryogenic Globe Valve
Design pressure : 5.0Mpa
Design temperature : -196℃~75℃
Kind of fluid : LN₂, LO₂, LAr, LCO₂, LNG, LC₂H₄
Hydrostatic test pressure : 7.5 Mpa
Pneumatic test pressure : 5.5 Mpa
“SS Cryogenic Lift Check Valve” is designed for use as a check valve which allows fluids to flow in one direction in cryogenic liquid systems.
This valve is used extensively in bulk storage tanks, portable liquid cylinders and pipelines for LO₂, LN₂, LAr, and LNG.
NS200s Ordering information
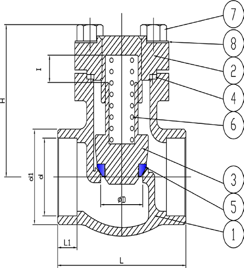
| Model No. | SIZE | ØD | d | d1 | L | L1 | I | H | Cv |
|---|---|---|---|---|---|---|---|---|---|
| NS200s-15A | 1/2″(15A) | 15 | 21.9 | 30 | 62 | 9 | 10 | 53 | 2.9 |
| NS200s-20A | 3/4″(20A) | 20 | 27.4 | 36.8 | 70 | 11 | 12 | 62 | 6.1 |
| NS200s-25A | 1″(25A) | 25 | 34.2 | 44 | 76 | 12 | 13.5 | 67 | 9.3 |
| NS200s-40A | 11/2″(40A) | 40 | 48.8 | 62 | 110 | 14 | 22 | 267 | 22.0 |
| NS200s-50A | 2″(50A) | 50 | 61.0 | 74 | 130 | 15 | 25 | 275 | 38.0 |
Valves are manufactured by patented technology.


